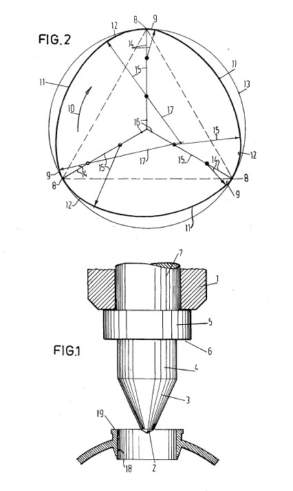
Fdrill鎢鋼熱熔鉆頭(拉伸鉆頭/無屑擠壓熱熔成型鉆頭/硬質合金熱熔鉆頭),其特征在于:熱熔鉆頭的前段是一小圓錐體疊加在一梯形圓錐體上,中部為圓柱體,后部為臺肩和連接柄。因為有這樣結構的熱熔鉆,小圓錐體用于定位和預鉆孔,這樣就不會出現鉆孔打滑現象,其余鉆頭工作部分是利用快速摩擦生熱,再通過軸向壓力,在鉆孔過程中形成有三至四倍拉伸長度的孔,可在這些孔上攻絲,作為螺孔用,或者做焊接支撐等用途。 Fdrill原產品牌熱熔鉆,由株洲市熱鉆公司銷售,致力于成為專業薄壁材料加工的領導者。